El circuito que se muestra es una referencia de -10 V con una corriente máxima de 50 mA obtenida del Linear Technology Databook de 1993. El circuito integrado de Linear es poco común en la actualidad.

Referencia de tensión negativa de 10 V LT031
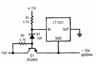
El circuito que se muestra es una referencia de -10 V con una corriente máxima de 50 mA obtenida del Linear Technology Databook de 1993. El circuito integrado de Linear es poco común en la actualidad.
