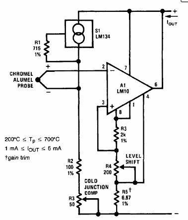
El circuito presentado es del Manual de aplicaciones Lineales del National Semiconductor de 1994. Los componentes utilizados son poco comunes hoy en día, pero la configuración se puede adaptar para utilizar componentes más modernos.

Transmisor de corriente para termopar LM10



