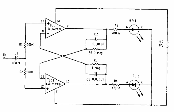
Este circuito es de la documentación de Radio Shack de 1977. Tiene como objetivo demostrar el principio de funcionamiento de un flip-flop. Los LED son comunes y la alimentación se puede suministrar con voltajes de 6 a 12 V.

Flip Flop Didáctico con el LM3900



