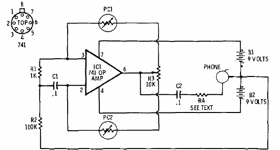
Este circuito, de un manual de Radio Shack de 1977, consiste en un oscilador cuyo sonido producido en un auricular (o incluso un transductor) depende de la luz que incide sobre los LDR. R4 es de 100 ohms a 1k dependiendo del volumen deseado en el teléfono o altavoz. La fuente debe ser simétrica de 6 a 12 V y el rango de frecuencia se puede cambiar cambiando C1.




