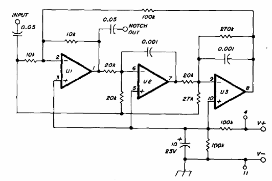
Encontramos este circuito en una publicación sobre amplificadores operacionales de 1978. El circuito está hecho con amplificadores LM324 y la fuente no necesita ser simétrica, con tensiones entre 5 y 25 V. Los componentes se pueden cambiar para operar en otras frecuencias.

Filtro de rechazo de 3 kHz



