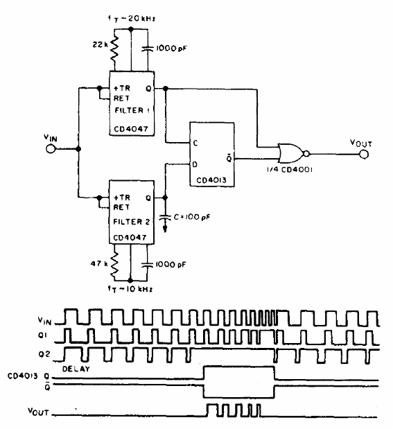
Este circuito se obtuvo en el manual RCA CMOS de 1977. El circuito tiene las frecuencias determinadas por las redes RC en los circuitos integrados 4047. Ver en la ficha técnica cómo realizar la conexión. El diagrama de tiempos para las señales se da debajo del diagrama. La fuente de alimentación es CMOS y puede estar entre 5 y 12 V.

Filtro digital passa banda de 10 a 20 kHz



