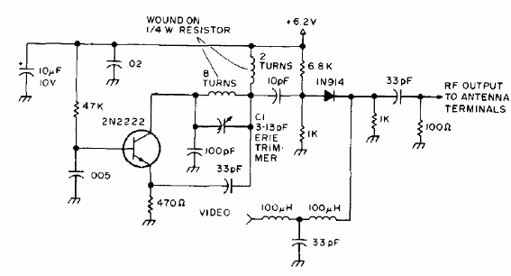
Este oscilador se utiliza para modular señales de videojuegos o incluso pequeñas cámaras para que puedan ser recibidas en televisores VHF. El circuito es de una publicación de 1976 y los componentes críticos son las bobinas. Los capacitores deben ser de cerámica.

Modulador de VHF



