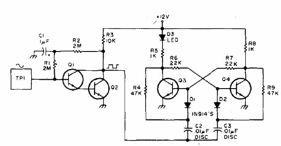
Encontramos este circuito en una documentación de 1976, pero aún se puede ensamblar fácilmente usando transistores BC548. Se puede utilizar un segundo LED en serie con R8. Un toque del sensor hace que el LED se encienda o se apague. No utilice una fuente sin transformador para alimentar este circuito.

Lanza Moñedas de Toque



