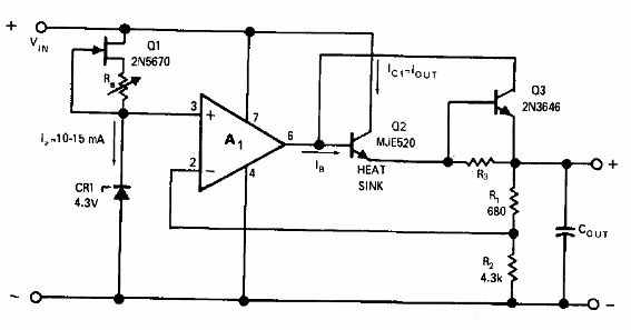
El amplificador operacional puede ser el 741 y el transistor Q3 un BC548. Q1 es un BF245 y Q2 un BD135 con radiador de calor. La tensión de entrada puede variar de 12 V a 20 V. El resistor de ajuste Rs puede ser 4k7. El circuito es de una publicación de 1972.

Fuente de alimentación de 5 V x 200 mA



