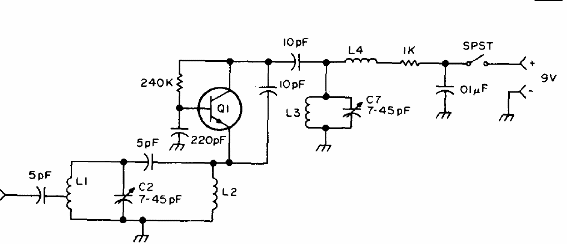
Con este circuito, obtenido de una publicación americana para radioaficionados en 1976, es posible recibir señales en el rango VHF de 150 a 220 MHz en un receptor AM común. El circuito L3 / C7 sintonizado debe establecerse en una frecuencia libre de AM y colocarse junto al receptor. L2 y L4 son choques de 100 uH y L1 debe tener 2 + 2 vueltas de alambre 28 en forma de 0,5 cm sin núcleo. El circuito es de bajo consumo y puede funcionar con batería.




