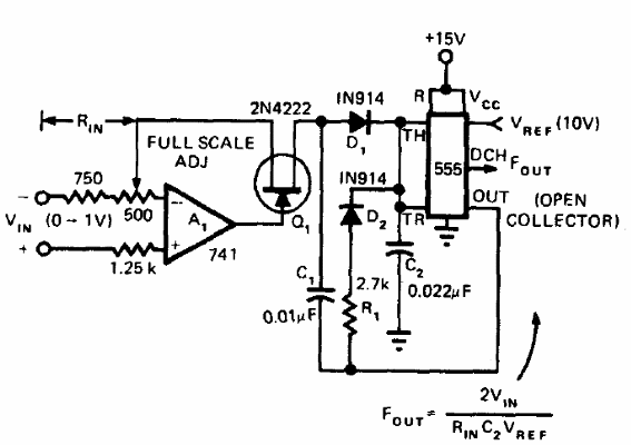
Este circuito se encontró en una publicación de 1974. Convierte la tensión aplicada en pulsos de frecuencia correspondiente. Entonces tenemos un factor de 10 kHz para su funcionamiento, lo que significa que una variación de voltaje de 0 a 1 V en la entrada produce pulsos de 0 a 10 kHz. La alimentación del 741 debe ser simétrica y el FET puede ser el BF245.

Convertidor de tensión a frecuencia



