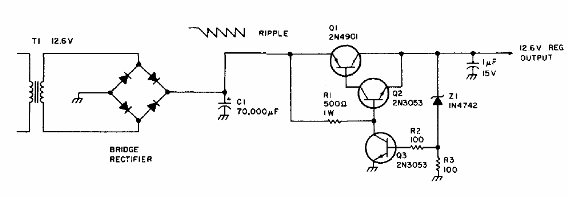
Este circuito es de una antigua publicación estadounidense de 1977. El transistor Q1 puede ser un TIP42 y Q2 un BD135. Q3 puede ser un BC548 y diodos rectificadores 1N5404. El transistor Q1 debe montarse en un radiador de calor excelente.

Fuente de alimentación de 12,6 V con 3 A



