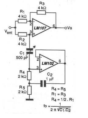
Un circuito de filtro muy interesante y versátil, sugerido por National Semiconductor es el que se muestra en la figura, basado en los amplificadores operacionales LM107 y LM102, que deben ser alimentados por una fuente simétrica. Los valores de los componentes utilizados deben mantener las relaciones indicadas en el diagrama y, para un mejor desempeño, deben ser de bajas tolerancias. También junto al diagrama tenemos la fórmula que nos permite calcular la frecuencia de sintonización del filtro. Vea que básicamente depende del producto C1 x C2. Una aplicación importante de este circuito es el rechazo de ruido de línea (60 Hz), ya que se puede sintonizar fácilmente para compensar las características de los componentes.




