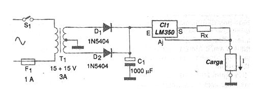
Las fuentes de corriente constante se utilizan en aplicaciones como cargadores de baterías, tanques electrolíticos, etc. La fuente que se muestra en la figura puede proporcionar corrientes de salida de hasta 3 A. La intensidad de la corriente en la carga depende de Rx y se calcula mediante la siguiente fórmula:
I = 1,25 / Rx
El valor 1,25 viene dado por el zener de referencia interno del circuito integrado LM150. El mismo circuito se puede diseñar para corrientes de hasta 1,5 A utilizando el LM317. Te recordamos la necesidad de dotar al circuito integrado regulador de un buen disipador de calor y adoptar senderos amplios para la conducción de las corrientes más intensas. El transformador debe tener un secundario con una tensión de al menos 2 V mayor que la tensión máxima que aparece en la carga en condiciones de corriente constante. Tenga en cuenta que el voltaje de entrada máximo del LM350 es de 35 V. En aplicaciones comunes como la carga de la batería, el filtrado no necesita ser el mejor, por lo que se utiliza un capacitor relativamente pequeño para esta función. Un cambio interesante en el diseño es conectar un potenciómetro de cable con Rx para ajustar la intensidad de la corriente. Un potenciómetro de 50 ohms proporciona una buena variedad de ajustes.




