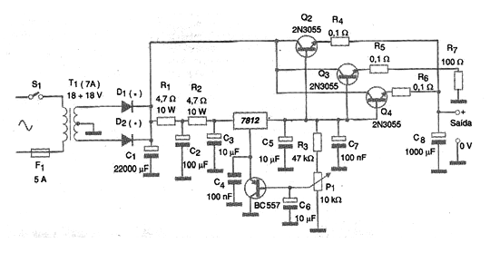
Tomando como referencia un regulador de tensión integrado, podemos controlar varios transistores de potencia del tipo 2N3055 y así obtener una salida de alta tensión estable. Para una salida de 13,6 V, este tipo de fuente es ideal para alimentar equipos de comunicaciones móviles como transceptores VHF y UHF para uso automotriz, en un banco de reparación o para uso fijo. El circuito que se muestra en la figura usa dos transistores 2N3055, cada uno de los cuales controla una corriente de 2.5 A, lo que da un valor de salida máximo de 7.5 A. Si el lector necesita menos corriente, puede usar solo uno o dos 2N3055. Tenga en cuenta que en el emisor de cada transistor utilizamos un resistor de hilo de bajo valor. La finalidad de esto resistor es conseguir que la corriente se reparta por igual entre todos los transistores, ya que en conducción tienen diferentes resistencias. Sin ellos, la corriente se dividiría de manera desigual, sobrecargando uno de los transistores que luego se quemaría. Al ensamblar este tipo de fuente, el principal cuidado es utilizar cables de un grosor adecuado a la intensidad de la corriente que se debe conducir. Será conveniente proteger el circuito mediante fusibles tanto en la entrada como en la salida. También es importante tener en cuenta que los transistores de potencia deben estar equipados con excelentes radiadores de calor. El circuito integrado 7812 también debe montarse en un radiador de calor. Los resistores de 0,1 ohm y 4,7 ohms deben estar de hilo. En el trimpot se puede ajustar la tensión de salida a valores entre 12 y 13,6 V aproximadamente.




