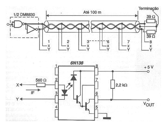
En la figura mostramos la configuración típica de una línea compartida utilizando un par trenzado donde se puede utilizar el circuito con el 6N138. Se pueden utilizar hasta ocho circuitos en el circuito mostrado. El controlador de línea IC es convencional y la longitud máxima de línea recomendada es de 100 metros. La velocidad de transferencia de datos típica es 180 kB / s (que corresponde a tiempos típicos de subida y bajada de 3 us). Las cargas se pueden distribuir aleatoriamente a lo largo de la línea.




