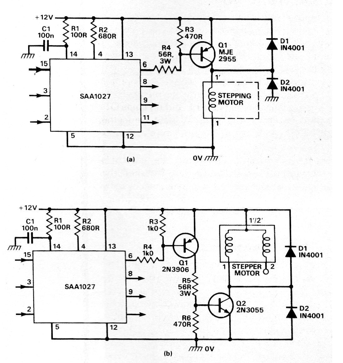
Los dos pasos de potencia a continuación están diseñados para usarse con el control de motor paso a paso SAA1027, pero se pueden adaptar para otros controles cuando la corriente requerida por el motor es superior a 500 mA. Para el segundo circuito Q1 puede ser un BD135. Los transistores de potencia deben montarse en radiadores de calor. Las corrientes pueden alcanzar los 3 A por fase en estos circuitos. Los circuitos son de una antigua publicación inglesa de 1989.




