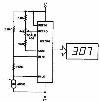
Este circuito está basado en el ICL7106, que hoy en día no es muy común, pero que permite el suministro directo de un display en el rango de 000 a 1999º K. El sensor utilizado también es un componente del tiempo.

Termómetro digital Kelvin
Este circuito está basado en el ICL7106, que hoy en día no es muy común, pero que permite el suministro directo de un display en el rango de 000 a 1999º K. El sensor utilizado también es un componente del tiempo.
