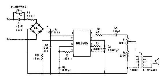
Probado por la FCC, este circuito se encontró en documentación de la década de 1980. El circuito utiliza un componente inusual en la actualidad.

Marcador de tono
Probado por la FCC, este circuito se encontró en documentación de la década de 1980. El circuito utiliza un componente inusual en la actualidad.
