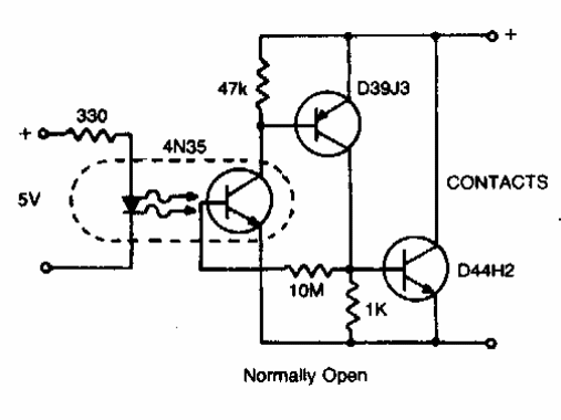
Este relé de estado sólido o circuito de shield se encontró en documentación antigua. Se pueden utilizar transistores y acopladores equivalentes. La tensión máxima es de 25 V y la corriente de 10 A.

Relé de estado sólido NA
Este relé de estado sólido o circuito de shield se encontró en documentación antigua. Se pueden utilizar transistores y acopladores equivalentes. La tensión máxima es de 25 V y la corriente de 10 A.
