Este circuito se encontró en una documentación estadounidense de la década de 1980. Los semiconductores son de la época y se pueden usar equivalentes modernos.

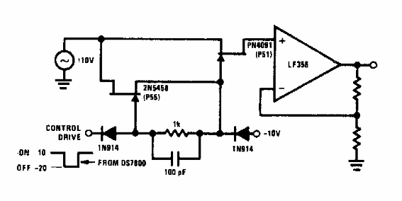
Interruptor analógico de alta frecuencia
Este circuito se encontró en una documentación estadounidense de la década de 1980. Los semiconductores son de la época y se pueden usar equivalentes modernos.
