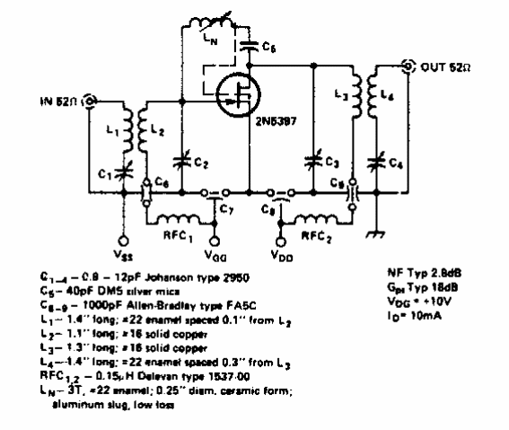
Este amplificador de fuente común con transistor de efecto de campo MOS se encontró en documentación de la década de 1970. Se puede utilizar un transistor equivalente moderno.

Amplificador de 450 MHz
Este amplificador de fuente común con transistor de efecto de campo MOS se encontró en documentación de la década de 1970. Se puede utilizar un transistor equivalente moderno.
