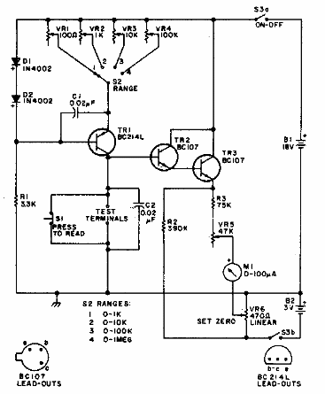
Este circuito se encontró en una documentación de la década de 1980. Los transistores pueden ser equivalentes modernos para propósito general. El circuito tiene cuatro escalas.

Ohmímetro de escala lineal
Este circuito se encontró en una documentación de la década de 1980. Los transistores pueden ser equivalentes modernos para propósito general. El circuito tiene cuatro escalas.
