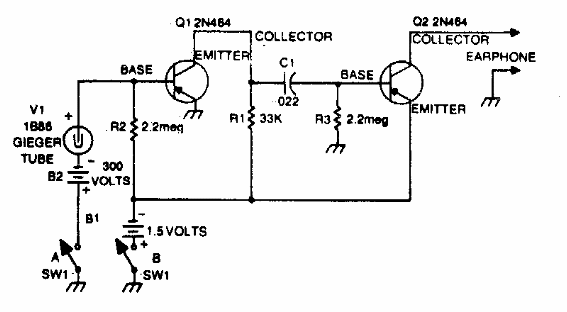
Este circuito detector de radiación con una válvula Geiger se encontró en la documentación de la década de 1980. Los transistores son de propósito general. La batería de alta tensión para la válvula Geiger se puede reemplazar por un circuito inversor de tensión.

Contador Geiger



