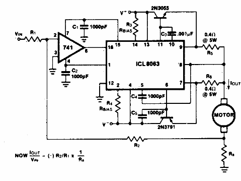
Este control de corriente para motores de CC se encontró en documentación de la década de 1970. La corriente depende de transistores que admitan equivalentes modernos.

Accionamiento de motor de corriente constante
Este control de corriente para motores de CC se encontró en documentación de la década de 1970. La corriente depende de transistores que admitan equivalentes modernos.
