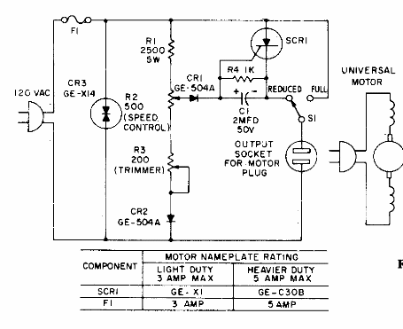
Este control enchufable se encontró en la documentación de General Electric de la década de 1970. El SCR puede ser el TIC106 montado en un disipador de calor. El circuito se puede cambiar a la red de 220 V.

Control de velocidad para herramientas
Este control enchufable se encontró en la documentación de General Electric de la década de 1970. El SCR puede ser el TIC106 montado en un disipador de calor. El circuito se puede cambiar a la red de 220 V.
