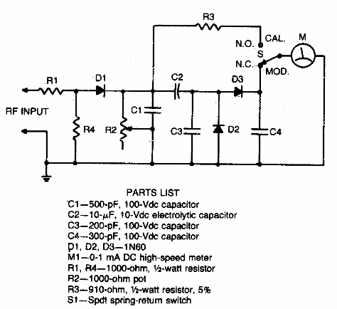
Este monitor de telégrafo se encontró en una documentación estadounidense para radioaficionados de los años 70. El indicador es un miliamperímetro común de escala completa de 1 mA.

Monitor de modulación CW
Este monitor de telégrafo se encontró en una documentación estadounidense para radioaficionados de los años 70. El indicador es un miliamperímetro común de escala completa de 1 mA.
