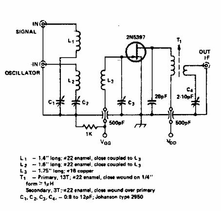
Este circuito se encontró en documentación de los años 70. El FET admite equivalentes de corriente y la frecuencia de las señales depende de las bobinas utilizadas.

Mezclador RF con FET
Este circuito se encontró en documentación de los años 70. El FET admite equivalentes de corriente y la frecuencia de las señales depende de las bobinas utilizadas.
