Este circuito se encontró en una documentación de la década de 1980. Los transistores pueden ser equivalentes modernos. El circuito se puede modificar para operar con tensiones más bajas.

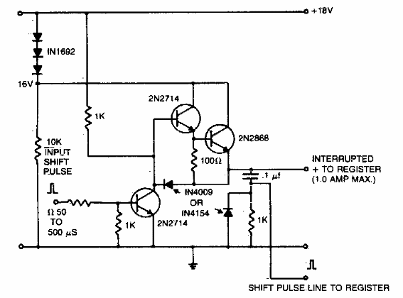
Driver para registrador de desplazamiento
Este circuito se encontró en una documentación de la década de 1980. Los transistores pueden ser equivalentes modernos. El circuito se puede modificar para operar con tensiones más bajas.
