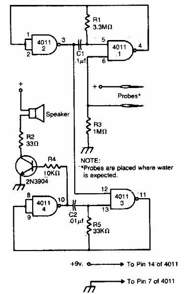
Encontrado en una publicación en inglés de la década de 1980, este circuito utiliza componentes que todavía son comunes en la actualidad. La fuente de alimentación debe estar aislada si no se utilizan baterías.

Alarma de inundación
Encontrado en una publicación en inglés de la década de 1980, este circuito utiliza componentes que todavía son comunes en la actualidad. La fuente de alimentación debe estar aislada si no se utilizan baterías.
