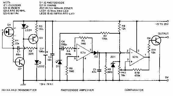
Este circuito se encontró en una documentación en inglés de los años 90. Los componentes admiten equivalentes, aunque muchos todavía son comunes en nuestro mercado.

Detector de proximidad óptico
Este circuito se encontró en una documentación en inglés de los años 90. Los componentes admiten equivalentes, aunque muchos todavía son comunes en nuestro mercado.
