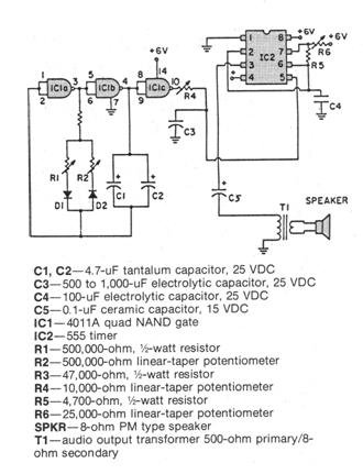
El circuito presentado produce el sonido de la sirena de un bombero. En lugar del transformador de salida con el altavoz, se puede utilizar una etapa de amplificador de mayor potencia. El circuito funciona con tensiones de 6 a 12 V. Encontramos esta configuración en una publicación estadounidense de la década de 1980.

Sirena de bombero



