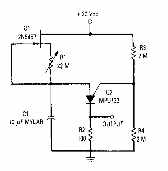
Este circuito se encontró en una documentación de Motorola de los años 90. El circuito utiliza un PUT, un componente inusual en la actualidad. El tiempo depende del cacapcitor.

Temporizador de larga duración con PUT
Este circuito se encontró en una documentación de Motorola de los años 90. El circuito utiliza un PUT, un componente inusual en la actualidad. El tiempo depende del cacapcitor.
