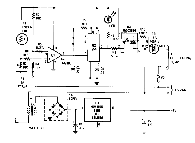
Este circuito se encontró en una Popular Electronics de los años 90. Se basa en componentes que todavía son comunes en la actualidad y en un acoplador óptico para el triac. El sensor es un termistor.

 

Controlador de temperatura
Controlador de temperatura | Haga click en la imagen para ampliar |