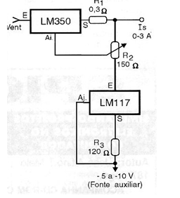
Alta estabilidad es la principal característica del circuito regulador de 10 V mostrado en la figura y sugerido por National Semiconductor. El circuito integrado debe montarse en un radiador de calor y las resistencias usadas son de precisión con una tolerancia del 1%. La tensión de entrada es de 15 V.




