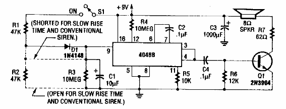
Este circuito se encontró en una Radio Electronics desde los años 90. El circuito integrado CMOS es un PLL que no es muy fácil de obtener hoy en día. La etapa de salida se puede cambiar por otra con mayor potencia.

Sirena CMOS PLL
Este circuito se encontró en una Radio Electronics desde los años 90. El circuito integrado CMOS es un PLL que no es muy fácil de obtener hoy en día. La etapa de salida se puede cambiar por otra con mayor potencia.
