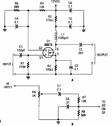
Este circuito con transistor MOS de doble puerta se encontró en una Popular Electronics de los años 90. El circuito opera en frecuencias de hasta 20 MHz y tiene una ganancia controlada por tensión.

Amplificador con modulador
Este circuito con transistor MOS de doble puerta se encontró en una Popular Electronics de los años 90. El circuito opera en frecuencias de hasta 20 MHz y tiene una ganancia controlada por tensión.
