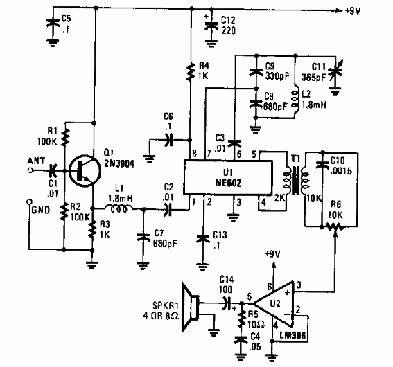
Este circuito se encontró en una Popular Electronics de los años 90. El circuito utiliza componentes de esa época, destinados a recibir señales en el rango de 150 a 250 kHz.

Receptor simple de baja frecuencia
Este circuito se encontró en una Popular Electronics de los años 90. El circuito utiliza componentes de esa época, destinados a recibir señales en el rango de 150 a 250 kHz.
