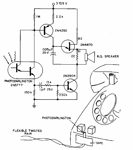
Este circuito se aplica a un teléfono antiguo al detectar pulsos de luz en el dial. El circuito es de una antigua Electronic Design de los años 80.

Detector de pulsos de luz telefónico
Este circuito se aplica a un teléfono antiguo al detectar pulsos de luz en el dial. El circuito es de una antigua Electronic Design de los años 80.
