Este tipo de amplificador se puede encontrar en muchos otros puntos en esta sección. Esto es de un manual de Motorola de los años 70. El circuito integrado utilizado es de Motorola.

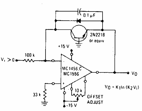
Amplificador logarítmico
Este tipo de amplificador se puede encontrar en muchos otros puntos en esta sección. Esto es de un manual de Motorola de los años 70. El circuito integrado utilizado es de Motorola.
