Este circuito lineal se encontró en una Electronic Design de 1965. Los transistores son de esa época. Se pueden utilizar transistores equivalentes modernos. El rango de la señal es de 1 a 10 segundos.

Generador de barrido
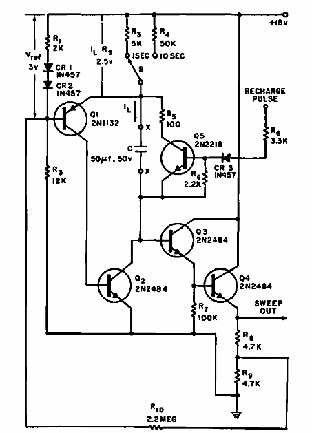
Este circuito lineal se encontró en una Electronic Design de 1965. Los transistores son de esa época. Se pueden utilizar transistores equivalentes modernos. El rango de la señal es de 1 a 10 segundos.
