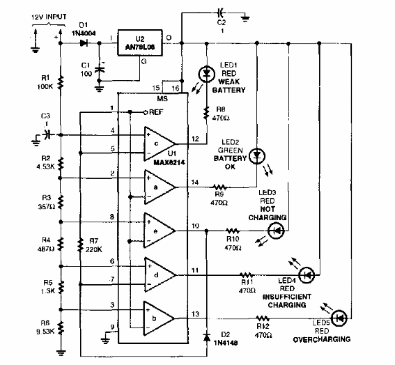
Este circuito se encontró en una Popular Electronics de los años 90. Es posible analizar las tensiones de una batería automotriz. El circuito comparador de tensión integrado admite equivalente.

Analizador de tensión automotriz
Este circuito se encontró en una Popular Electronics de los años 90. Es posible analizar las tensiones de una batería automotriz. El circuito comparador de tensión integrado admite equivalente.
