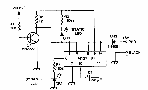
Este circuito se encontró en una Popular Electronics de los años 90. También sirve para el análisis de señales de microcontroladores. La alimentación proviene del circuito bajo prueba.

Prueba lógica TTL
Este circuito se encontró en una Popular Electronics de los años 90. También sirve para el análisis de señales de microcontroladores. La alimentación proviene del circuito bajo prueba.
