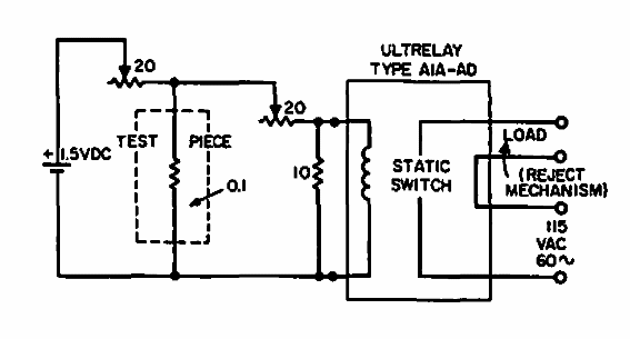
Encontrado en una Electronic Design de 1965, este circuito funciona con una tensión de 1.5 V. El relé puede ser tipo reed u otro tipo.

Relé estático de muy baja resistencia
Encontrado en una Electronic Design de 1965, este circuito funciona con una tensión de 1.5 V. El relé puede ser tipo reed u otro tipo.
