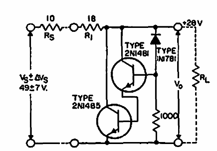
Esta configuración se puede encontrar en otra parte de esta sección. Esto se obtuvo de la documentación antigua de RCA, utilizando transistores de esa época.

Regulador de derivación de 28 V
Esta configuración se puede encontrar en otra parte de esta sección. Esto se obtuvo de la documentación antigua de RCA, utilizando transistores de esa época.
