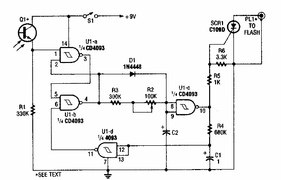
Encontrado en una Popular Electronics de los años 90, este circuito dispara un viejo destello de xenón del pulso de luz recibido por un sensor. El disparador, sin embargo, se realiza con un retraso dado por C2.

Disparador de flash retardado
Encontrado en una Popular Electronics de los años 90, este circuito dispara un viejo destello de xenón del pulso de luz recibido por un sensor. El disparador, sin embargo, se realiza con un retraso dado por C2.
