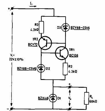
Este circuito se encontró en la documentación europea de 1968. Es un regulador de corriente que utiliza transistores complementarios de propósito general.

Fuente de corriente constante
Este circuito se encontró en la documentación europea de 1968. Es un regulador de corriente que utiliza transistores complementarios de propósito general.
