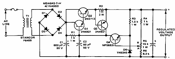
Esta fuente se encontró en un manual de Motorola de 1968. Los transistores son de la época y se pueden usar equivalentes actuales.

Fuente de alimentación de 32 V x 700 mA con protección
Esta fuente se encontró en un manual de Motorola de 1968. Los transistores son de la época y se pueden usar equivalentes actuales.
