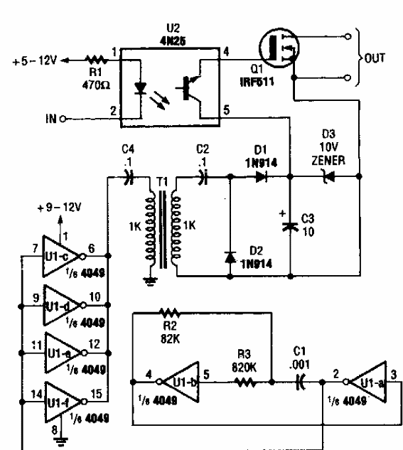
Esta interesante configuración de disparo óptico utilizando un oscilador se encontró en una Popular Electronics de los años 90. No se dieron detalles del transformador.

Shield activado por oscilador
Esta interesante configuración de disparo óptico utilizando un oscilador se encontró en una Popular Electronics de los años 90. No se dieron detalles del transformador.
