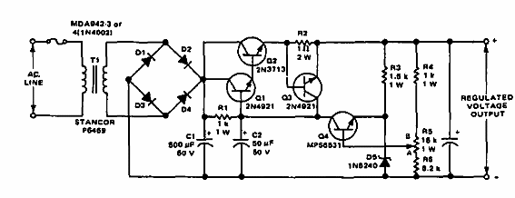
Encontrado en una Electronics World de 1969, este circuito utiliza transistores de la época. Se pueden usar transistores equivalentes. Los diodos pueden ser 1N4004.

Fuente de alimentación de 11 a 32 V con 700 mA
Encontrado en una Electronics World de 1969, este circuito utiliza transistores de la época. Se pueden usar transistores equivalentes. Los diodos pueden ser 1N4004.
